Выберите валюту для сайта:
BYN
Подать БЕСПЛАТНО
Объект в архиве
К результатам поиска

Продажа 2-этажной дачи в Экран Минская область, 32700USD, код 184792

79 м2
Объект в архиве
Уважаемые пользователи, данное объявление больше не актуально. Поэтому мы убрали все контакты продавца.
Продолжить поиск
Дача
Город Экран
Адрес д. 14
Направление Молодечненское
Удаленность от МКАД 14 км
Год постройки 1970
  
Общая площадь 79 м2
Участок 4.01 соток
Площадь дома 79 м2
Этажей 2
Материал стен Кирпич
Тип отопления Печное
Водоснабжение Центральное
Канализация Есть

Описание

Адрес: СТ Экран, Солнечная 14

Планировка и размеры дома:
Дом общей площадью 79 кв.м., общая жилая площадь 63,8 кв.м., общая площадь жилых комнат 40,9 кв.м.
Размеры дома по периметру 1 этажа: 9,30 м *5,35 м.
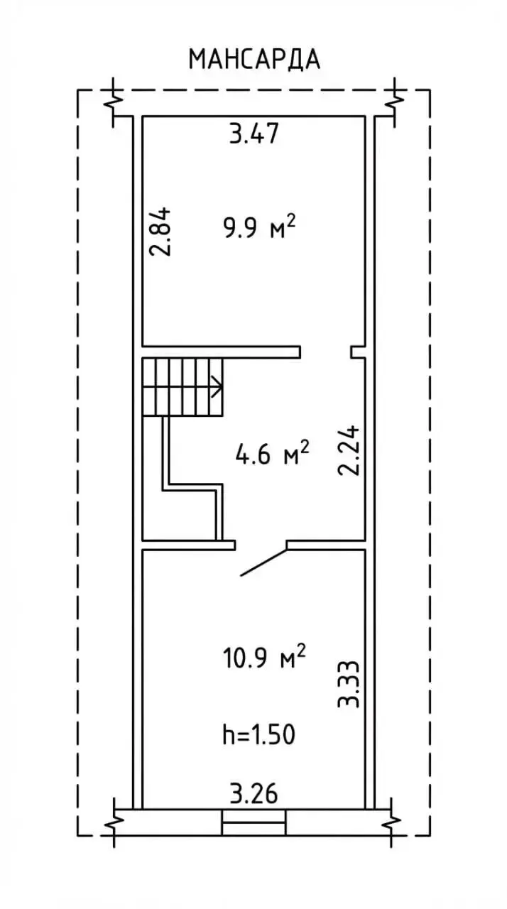
Размеры мансарды: 8,41 м * 3,26 м.
Первый этаж 38,4 кв.м, высокие потолки 2,6 м:
Светлая входная группа 13 кв.м., где можно обустроить прихожую и кухню; три жилые комнаты: проходная комната 10,5 кв.м. с установленной добротной печью, две раздельные – 6,6 и 8,3 кв.м.; мансардный этаж на две комнаты – 9,9 и 10,9 кв.м.
Отдельный вход в санузел с улицы(унитаз, канализация)

Характеристика строения, коммуникации:
Дом щитовой, 1970 года построения, проведена реконструкция в 2015.
Дом обложен кирпичем, установлены по всему дому окна ПВХ.
В процессе реконструкции были заменены деревянные лаги, добавлена обрешетка.
Кровля – металлочерепица, гидроизоляция - рубероид.
Отопление - добротная печь, свежая кладка, предусмотрено место для приготовления.
Коммуникации в доме: электричество 220.
Канализация местная для дома – 4 кольца полутораметровых, для бани – вкопана бочка на 200 литров без дна.
Установлен бойлер для нагрева воды в санузле, вода сезонная, планируются работы по реконструкции сезонного водопровода в СТ на центральный, круглогодичный.
В бане, кроме основной дровяной печи для растопки,  установлен отдельно Титан для нагрева воды.

Участок:
4,01 сотки, частная собственность.
На участке кроме жилого дома: функционирующая дровяная баня, здесь же оборудована ванная; Хозблок - дровник.
Установлен забор из металлопрофиля.

Инфраструктура рядом:
Товарищество большое, почти в 300 домов, многие живут круглогодично.
Закрытая территория товарищества, на въезде - автоматические ворота.
Центральная въездная дорога асфальтирована в СТ, регулярно чистится от снега в зимний период.
В сезон в СТ регулярно  приезжает автолавка.
СТ окружает прекрасный сосновый лес, рядом расположен санаторий «Зелёный бор», что подчёркивает экологичность и оздоровительный потенциал местности. Всего в 8 км - Заславское водохранилище, где можно купаться, загорать, кататься на лодке и рыбачить. 
Ж/Д станция “Зеленое” в 3,6 км или 43 минутах ходьбы.

Можно добраться:
На машине: 20 минут от края кольцевой (выезд – через Ждановичи).
Своим ходом: Электричкой Минск – Молодечно (в дороге 30 минут), до участка шагом 43 минуты; на маршрутке 2406 с остановки “Станция метро Каменная горка” в направлении СТ Ивушка до остановки “СТ Зорька” (15 минут в дороге) ,до участка  23 минуты пешком.

Не упустите шанс приобрести эту недвижимость!
Отличная локация для загородного отдыха!
Звоните и записывайтесь на просмотр!

Код объекта: 184792 Договор с собственником: 491/1 от 2025-11-28 Опубликовано: 16.01.2026 Обновлено: 16.01.2026
0 / 0 / 62
+
Фильтр сохранен