Выберите валюту для сайта:
BYN
Подать БЕСПЛАТНО
Объект в архиве
К результатам поиска

Купить земельный участок, 9.07 соток, Минск, Минская область, 42250USD, код 571177

9.07 соток Заводской район
Объект в архиве
Уважаемые пользователи, данное объявление больше не актуально. Поэтому мы убрали все контакты продавца.
Продолжить поиск
Участок
Город Минск
Район Заводской район
Микрорайон Ангарская
Адрес пер. Болотникова, д. 35
Участок 9.07 соток
Водоснабжение Центральное
Электричество есть
Удобства
Лес
Магазин

Описание

Большой участок в Минске со своим выходом в лес!

Адрес: Минск, переулок Болотникова 35 уч. 358

Участок:
9,07 сотки, статус - пожизненно наследуемое владение.
Размеры: 21 м 43 м
Границы участка обозначены.
Примыкающие соседи только с двух сторон. В конце нашего участка - свой выход в лес.

Коммуникации:
Электричество 220, счетчик на столбе. Установлены новые трансформаторы, можно планировать электроотопление.
В СТ Дражня разведена центральная круглогодичная вода, колодец для подключения возле забора.

На участке расположен дом 1979 года постройки (зарегистрирован),  который можно снести и построить новый по своему проекту или провести реконструкцию.

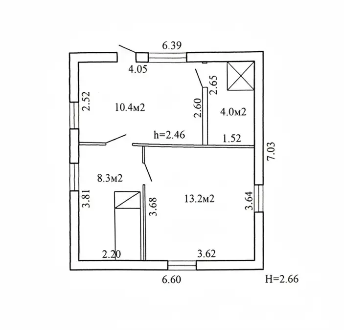
Планировка строения, характеристики:
Размеры по внешнему периметру: 6,60 м 7,03 м
Общая площадь строения 35,9  кв.м.
Фундамент ленточный, стены - щитовой, сборный, обложен кирпичем.
Кровля - рубероид, щифер.
Окна ПВХ.

Инфраструктура рядом:
СТ «Дражня» - это фактически Минск! Максимальное большинство  живет круглогодично.
Рядом всевозможные магазины; школы, детские сады, поликлиники, аптеки и мног. др.
Рядом - сосновый лес с лыжероллерной трассой, беговыми и велосипедными дорожками, отличная локация для прогулок и активного отдыха.
Общественный транспорт находится в шаговой доступности - легкий доступ к центру города и другим районам.

Не упустите шанс приобрести этот участок в черте Минска!
Звоните и записывайтесь на просмотр!
Поможем продать Вашу недвижимость для покупки этой!
Гарантия безопасности сделки и полное юридическое сопровождение!

Код объекта: 571177 Договор с собственником: 435/1 Опубликовано: 28.10.2025 Обновлено: 13.01.2026
0 / 4 / 188
Динамика цен за кв. метрДинамика цен
Похожие объекты
Адрес
Комнат
Площадь
Этаж
Цена за м2
Цена
м2
+
Фильтр сохранен